Točkovi
Točkove za unutrašnji transport proizvodimo u više različitih varijanti:
|
|


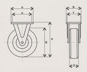
Metalplast točkovi - MP T FV / OV |
Nosivost (kg) |
|||||||
Ø |
H |
A |
B |
X |
Y |
D |
PG |
P |
80 |
106 |
105 |
80 |
80 |
60 |
35 |
100 |
120 |
100 |
116 |
105 |
80 |
80 |
60 |
35 |
120 |
150 |
125 |
156 |
120 |
80 |
95 |
60 |
45 |
150 |
200 |
140 |
175 |
120 |
80 |
95 |
60 |
45 |
200 |
250 |
160 |
185 |
120 |
80 |
95 |
60 |
45 |
200 |
250 |
180 |
220 |
135 |
110 |
110 |
75 |
55 |
250 |
300 |
200 |
230 |
135 |
110 |
110 |
75 |
55 |
250 |
300 |